top of page
projects with industry
HOME
PRODUCTS
GRAPHICS
WORDS
CONTACT
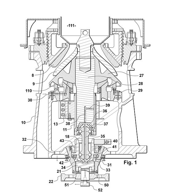
drawings prepared for patent and registered design applications:
bottom of page